Valuta
RON
  • BGN
  • EUR
  • RON
Limbă

Set scule distribuție motor Jeep / Chrysler / Lancia 3.0 V6

Preț 992.84Lei
  • Cod:
    116379
  • Greutate:
    1.540 Kg

Prezentare:
✔ Set scule pentru distribuție motoare diesel 3.0 V6
✔ Compatibil cu Jeep, Chrysler și Lancia
✔ Proiectat pentru înlocuirea lanțului de distribuție
✔ Include scule pentru blocarea arborelui cu came și a arborelui cotit
✔ Asigură sincronizare precisă a motorului
✔ Livrat în cutie de depozitare rezistentă
✔ Ideal pentru utilizare profesională în service auto

buc. disponibile | termen de livrare 4–7 zile

Îmi doresc

Acest set de scule este conceput pentru blocarea și reglarea arborelui cu came și a arborelui cotit în timpul înlocuirii lanțului de distribuție la motoare diesel 3.0 V6.

Oferă toate sculele necesare pentru efectuarea corectă și sigură a operațiunilor de service.


Compatibilitate

Potrivit pentru:

  • Jeep Grand Cherokee CRD cu motor EXF VM23D (2011–2015)
  • Jeep Grand Cherokee Multijet cu motor EXF VM44D (2011–2015)

Compatibil și cu motoare echivalente utilizate în modele Chrysler și Lancia.


Funcționalitate

Setul permite:

  • Blocarea precisă a arborilor cu came pe ambele bancuri de cilindri
  • Fixarea sigură a arborelui cotit
  • Înlocuirea în siguranță a lanțului de distribuție
  • Blocarea și reglarea întinzătorului

Conținut

  • Sculă blocare arbore cu came – banc dreapta (as VM10338-1)
  • Sculă blocare arbore cu came – banc stânga (as VM10338-2)
  • Pini blocare întinzător (as VM10359A)
  • Pin blocare arbore cotit (as VM10339)
  • Cutie din plastic rezistentă

Numere de referință OEM

Pentru utilizare ca:
VM10338-1, VM10338-2, VM10359A, VM10339

 

Numerele originale sunt doar pentru comparație, nu reprezintă scule originale!

Dispozitiv de blocare ax cu came (1) – chiulasă dreapta
Acest instrument este utilizat pentru blocarea axului cu came în poziția de distribuție. Asigurați-vă că toate marcajele axului cu came sunt aliniate și că pinii dispozitivului se potrivesc în partea din spate a roților dințate, conform ilustrației.


Dispozitiv de blocare ax cu came (2) – chiulasă stânga
Acest instrument este utilizat pentru blocarea axului cu came în poziția de distribuție. Asigurați-vă că toate marcajele axului cu came sunt aliniate și că pinii dispozitivului se potrivesc în partea din spate a roților dințate, conform ilustrației.


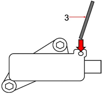
Știft de blocare întinzător lanț distribuție (3)
Acest instrument este utilizat pentru blocarea ambilor întinzători ai lanțului de distribuție în poziția retrasă.
Montați dispozitivele de blocare pentru axul cu came și arborele cotit, comprimați pistoanele ambilor întinzători și introduceți știftul de blocare conform ilustrației.


Bolț de blocare arbore cotit (4)
Acest instrument este utilizat pentru blocarea arborelui cotit în poziția de distribuție. Montați acest instrument conform ilustrației.

CHRYSLER 300C (09.2010 - 12.2012) 3.0 CRD (239 HP, 176 kW)

JEEP GRAND CHEROKEE IV (WK, WK2) (06.2010 - 12.2011) 3.0 CRD (243 HP, 179 kW)

JEEP GRAND CHEROKEE IV (WK, WK2) (06.2010 - 12.2011) 3.0 CRD V6 4x4 (190 HP, 140 kW)

JEEP GRAND CHEROKEE IV (WK, WK2) (06.2010 - 12.2011) 3.0 CRD V6 4x4 (218 HP, 160 kW)

JEEP GRAND CHEROKEE IV (WK, WK2) (06.2010 - 12.2011) 3.0 CRD V6 4x4 (241 HP, 177 kW)

JEEP GRAND CHEROKEE IV (WK, WK2) (06.2010 - 12.2011) 3.0 CRD V6 4x4 (250 HP, 184 kW)

JEEP GRAND CHEROKEE IV (WK, WK2) (06.2010 - 12.2011) 3.0 TD V6 4x4 (243 HP, 179 kW)

LANCIA THEMA (LX_) (09.2011 - 10.2014) 3.0 D (48, LX) (239 HP, 176 kW)

LANCIA THEMA (LX_) (09.2011 - 10.2014) 3.0 D (LX, 48) (190 hp, 140 kW)